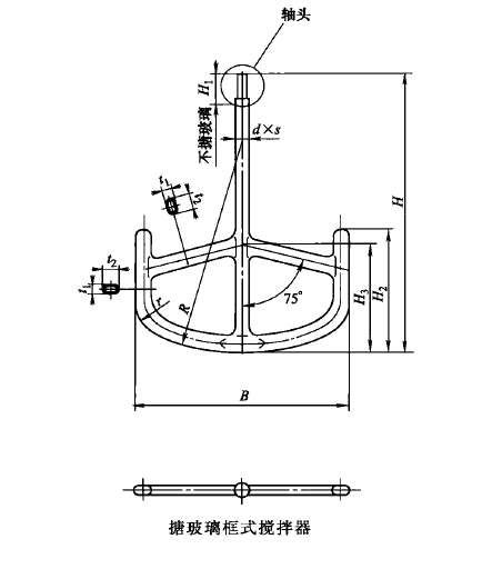
反應釜用搪玻璃框式攪拌器其設計結構圖如下圖所示,它是在搪玻璃錨式攪拌器的基礎上在其錨的上部增加了一根橫葉,還可以增加立葉,這種設計更加加大了搪玻璃反應釜的攪拌范圍,使得物料受攪拌效果更好:

根據搪玻璃設備的設計要求及工藝要求,搪玻璃框式攪拌器系類公稱容積為50L~5000L 。公稱壓力為小于等于1.0Mpa,設計溫度為零下20攝氏度至200攝氏度,框式攪拌器公稱轉速為50~80轉每分鐘。
搪玻璃框式攪拌器抽頭分為A型、B型和C型。A型軸頭與W型轉動裝置相匹配,適用于50L到4000L的搪玻璃反應釜開式攪拌器。B型軸頭和C型軸頭與DZ、SZ型轉動裝置機型相配,B型、C軸頭適用于1000L到5000L的搪玻璃開式發應攪拌容器。攪拌器錨翼端部線性速度為大于5米每分鐘,優先選用B型或C型軸頭。搪玻璃框式攪拌器型軸頭A型、B型和C型軸頭結構和尺寸同搪玻璃錨式攪拌器A型、B型和C。
|